商业频道
夏普电视中国销售减速 鸿海旗下面板厂又进入亏损状态
据《日本经济新闻》4月8日报道,台湾鸿海精密工业集团旗下、夏普也出资的液晶面板生产公司——堺显示器产品(SDP,位于日本大阪府堺市)2018财年(截至2018年12月)的最终损益为亏损284亿日元(上财年盈利43亿日元)。
Lyft威胁起诉大摩 指控为投资者做空公司的股票
北京时间4月8日下午消息,美国财经媒体CNBC报道称,网约车公司Lyft(74 45,2 45,3 40%)威胁对摩根士丹利(44 9,-0 03,-0 07%)发起诉讼,指控该公司支持那些受制于锁定协议的投资者卖空该股。Lyft在4月2日发给摩根士
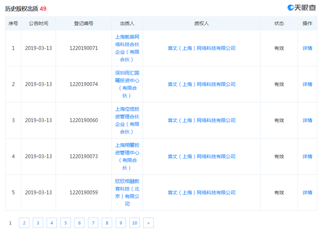
喜马拉雅28位股东出质股权 最终受益为香港一子公司
8日下午消息,据天眼查数据显示,喜马拉雅FM主体公司为上海证大喜马拉雅网络科技有限公司,2018年12月19日至2019年3月13日,共有28位股东出质股权,质权人为喜丈(上海)网络科技有限公司,该公司为喜马拉雅(香港)
遭责令整改!华大基因财务存漏洞多计净利超千万
因财务存漏洞多计收入超千万元,有着国内基因测序龙头之称的华大基因(300676 SZ)被深圳证监局要求责令整改。据华大基因4月4日晚间公告,公司于近日收到深圳证监局下发的《关于对深圳华大基因股份有限公司采取责令
京东快递员被取消底薪待遇 京东物流:需要适应新模式
此前有媒体报道称,京东将取消其快递员的底薪并增加快递收件任务,还将降低快递员的公积金系数。对此,京东物流在微博发文回应称,京东物流独立运营后新增大量外部订单业务、大客户业务以及个人快递揽件业务等,
华融·红锦坊真人CS大赛第二场圆满成功!
春回大地,一片生机勃勃,万物复苏,春意盎然。伴随着春天的到来,3月31日华融·红锦坊第二场真人CS大赛顺利举办。这个三月,华融·红锦坊面向全市,悬赏10000元奖金,寻找吃鸡英雄!凡是年满10-60岁的市民,都可凭身份证
“心脏”好最重要 热销的欧系轻客用的都是什么发动机?
发动机是提供动力的源泉,对于车辆来讲非常重要,再好的车如果没有质量过硬的发动机与之匹配,那也无法发挥其性能。尤其是作为物流车的轻客,总会遇到不同的行驶路况,不管是宽敞的城市道路、还是泥泞的小道,货
国家邮政局报告透露:3月中国快递发展指数同比提高22%
4月4日午间消息,国家邮政局今日披露3月快递发展指数报告,2019年3月中国快递发展指数为174 2,同比提高22 2%,呈现稳步提升态势。发展规模指数、服务质量指数和发展能力指数分别为202 3、194 9和159 8,分别比上
强生婴儿洗发水被曝检出甲醛 官方拒绝承认检测结果分析
近日,有消息称,印度药品控制中心对美国个人护理品牌强生的婴儿洗发水进行质量检测,发现产品中含有有害物质甲醛和石棉,但强生公司拒绝承认这一检查结果。印度西北部拉贾斯坦邦的药品监督机构发布公告说,强生
蒙牛2018营收少伊利100亿 光明乳业营收与净利双双下滑
随着蒙牛乳业(02319 HK)2018年成绩单的出炉,国内三大乳业巨头之间的差距也在年报中一览无余。2018年,乳业老大哥伊利股份(600887 SH)营收为789 76亿元,依旧稳居第一,蒙牛营收比伊利少100亿元,而光明乳业(600
拼多多售假又一案:TCL起诉商家卖假货索赔50万
近日,拼多多售价479元的TCL电视机被指假,对此,TCL官方回应:假的,已起诉。中国裁判文书网显示,TCL集团起诉商家及拼多多销售假冒TCL电视机一案,已获广东省中山市中级人民法院指定中山市第二人民法院受理。据
国美巨亏48亿元 黄光裕回归能否扭转“不及格”成绩?
2018年销售收入同比下降10 09%至643 56亿元,同比增亏近十倍至48 87亿元,日前,国美给投资者上交了一份史上最差成绩单。巧合的是,国美的昔日老对手苏宁也在同日发布2018年财报,后者2018年实现了营利双增。具体
美团进军生鲜领域 王兴再次发起边界的“战争”
一直不设边界的王兴再度试图打破美团点评的边界。而这次他伸向的是当前最火的社区生鲜领域,除了将直面传统商超的竞争以外,也避免不了与阿里、京东及每日优鲜等一批生鲜电商的正面交锋。不断扩张的美团3月26日,
继汉堡王后雀巢也将推出人造肉汉堡 没有做不到只有想不到
北京时间2日消息,据外媒报道,雀巢周二公布了在欧洲和美国推出基于大豆蛋白质的人造肉汉堡包的计划。雀巢的不可思议汉堡(Incredible Burger)将于本月开始在欧洲销售,以Garden Gourmet为品牌名,首先在德国、
既解放左脚还省油 江铃特顺将首搭ICS智能离合器
随着城市的发展和建设,道路交通复杂又红绿灯多,对于手动挡车主来说很不友好,他们需要不停的踩离合换挡,增加了驾驶强度并容易驾驶疲劳,甚至操作不当车辆还会熄火,存在极大的安全隐患。那么脑洞一下,有没有
好诱人!小米奖励299名员工2246.63万股股票
4月2日上午消息,小米(01810 HK)董事会昨日宣布,董事会决定根据股份奖励计划,奖励小米299名员工共2246 63万股股票。小米股票昨日收盘价报11 36港元,以此计算,奖励出去的股份共价值2 55亿港元。不过,受到股票
iPhone 7终于在印度本土生产 知情人:降价可能性不大
北京时间4月2日上午消息,除了iPhone SE和iPhone 6s之外,苹果已经开始在印度生产iPhone 7,从而扩大印度生产的产品占比,表明该公司有意将该国打造成一个制造基地。苹果在发给《印度经济时报》的独家邮件中说
小米称米粉节要让利2亿 届时新品和大力优惠将闪亮登场
小米愚人节产品小米火箭4月1日下午消息,为了迎接小米成立9周年,小米今日举办了一场9周年米粉节中国区总裁直面会。小米集团联合创始人、高级副总裁、中国区总裁王川宣布,小米9周年米粉节将于4月9日开启,届时不
三星新芯片生产线即将完工 成本压力不小
北京时间4月1日下午消息,据路透社报道,三星物产和三星电子的半导体生产线建设成本几乎翻了一番,项目总成本如今高达1 46万亿韩元(折合12 9亿美元)。在周五收市后,三星物产在证券交易所备案文件中表示,合同包
可怕的套路贷让辽宁宝立公司“命悬一线”
近年来,为了更好的推动各地区经济建设与发展,逐步实施了一系列有利的金融开放政策,从而加快了社会资本流动,缓解资金困难。令人意想不到的是,近两年部分民间借贷行为中出现吸血鬼式畸形状态,最为猖狂的则是
